應用和特點
1、二/三通控制球閥,內螺紋連接,DN15~65,適用于空調機組、盤管等供熱或制冷系統及設備的冷、熱水調節
2、兼容執行器連接標準ISO5211,可以適配TEREN球閥執行器BVA系列,或其他品牌符合標準的執行器
3、等百分比流量特性
4、結構緊湊小巧,適用于狹小安裝空間
5、驅動力矩小,關閉壓差大
6、直通水流,流通能力大,流阻小,不堵渣
7、泄露率低,閥門柔性開啟,能有效防止水錘
技術指標
公稱通徑:二通DN15~65,三通DN15~50
介質:冷、熱水,最大濃度50%的乙二醇溶液
介質溫度:5~95°C
公稱壓力:PN20
流量特性:二通:等百分比;
三通:控制路通A-AB等百分比;旁通B-AB:線性,流量約為50%Kvs
泄漏率:二通:控制通路:≤0.01%Kvs;閥桿無泄漏
三通:控通路A-AB≤0.01%Kvs;閥桿無泄漏;旁通B-AB約1%~2% Kvs
可調比:>100: 1
旋轉角度:90°
管道連接:內螺紋,ISO7-1 Rp
執行器連接:連接法蘭符合ISO5211,F03(4×M5),閥桿斜方鍵9×9(M5)
安裝位置:閥桿向上垂直或水平安裝
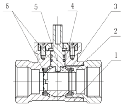
結構及材質
1. 閥體:黃銅
2. 閥蓋:黃銅
3. 閥座:增強聚四氟乙烯PTFE
4. 球芯:不銹鋼
5. 閥桿:黃銅電鍍
6. 密封圈:氟橡膠EPDM

流量特性

流量與壓差的關系
Kvs=
ΔP:閥門全開時的壓差,單位kPa;
F:壓差為ΔP時的額定流量,單位m3/h;
Kvs:在閥門全開,閥門二端壓差為100kPa,介質密度為1g/cm3時,流經閥門的流量,單位m3/h
選型表及關斷壓差表

ΔPm: (對應執行器扭矩下),在行程范圍內,保證閥門正常運行的閥門二端最大允許壓差。